Blog

CEB Press Prototype 1 Completed

It is interesting to see the progress on the Compressed Earth Block (CEB) press from prior art:

 

to our own conceptual and design drawings:

 

to raw metal as shown at https://www.opensourceecology.org/?p=36

and to reality:

Now we take a mound of dirt and get to work:

Here’s the prototype in action – the very first and raw run – working with some of the dirt from the semi-frozen pile:

Muddy bricks are born, as the soil is wet:

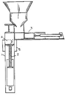
Nonetheless, the proof of concept of the entire machine, including automated hopper assembly, is complete. No structural issues, just a few details to finish. We can test for machine durability by simply pressing a brick a large number of times – perhaps ten thousand – without ejecting – so we obtain firm data on durability.

Field testing requires dry soil and mounting the CEB on a tractor 3 point hitch. When the weather allows, we’ll get to it. All in all, it seems that a high performance building method is around the corner. This is exciting for global village construction.

Circulate this widely. A great step has been taken for the world’s first, high-performance, open source CEB machine. The next steps include building the second prototype, followed by open franchising. That’s right. The plans are 100% open – and we’ll be demonstrating step-by-step fabrication. Our endpoint is a working business model and a flexible fabrication facility. The essence is one thousand dollars in parts; throw in a drill press, torch, and welder; plus labor – and there’s a real, economically significant product. By the way, it’s also design-for-disassembly (DfD) construction – with bolts as the main means of structural integration – for all but the hopper and a few welds. All parts are readily accessible, and wear plates are readily replaceable. I can take apart the entire machine to all its metal parts in about 15 minutes. That is pure passion – if one is interested in easy maintenance and lifetime of service. Stay tuned for developments.

49 Comments

  1. B

    Wow. I love seeing it in action. How many bricks does one 5 G pail of soil make?

    Answer: about 2-3 bricks

  2. Andrius Kulikauskas

    Marcin, Congratulations! It’s great to see your vision come to life. I’m glad Jeff and I could visit your open source farm. It’s all inspiring. Thank you for writing to our Global Villages group http://groups.yahoo.com/group/globalvillages/message/3215

  3. Lucas

    “CEB Phase 1 done. Circulate widely.” I’m at it. I’ve written in my blog (in Spanish) and to Worldchanging.

    * http://imagina-canarias.blogspot.com/2007/12/la-crisis-del-ladrillo.html
    * http://www.worldchanging.com/archives/007705.html

    One thing that will be fun to watch (my hands are full with other stuff, so I don’t expect to get my own hands dirty with this specifically) is to see others building similar machines in other places of the world. Could it be that someone will work faster if they live where there’s no snow at this time of the year?

  4. B

    also everyone is asking me why the bricks don’t have to dry. i want to know WHY?

    ta ta brittany & maggie

    Answer: You start with dry soil (about 5% moisture), so you can build with them as soon as you make them. For testing, we had no dry soil, we just pressed a few wet ones to see that everything works.

  5. Marcin

    Lucas, thanks for the notes. I don’t see a comment on us in your second link above, where is it?

  6. Smári´s blag :: Marcin’s CEB press

    […] Marcin Jakubowski and his team at the Factor E Farm have made the prototype Compact Earth Block press. Check it out: […]

  7. Sasha

    Excellent!
    Few comments: I see you have problems when releasing the brick. I think (from my small experience with clay) that it would be good if you grease (like with used vegetable oil) a little the place where the brick is , sorry for my English. It will allow you to easier take out the brick as it will not allow the clay to stick to the metal. Its good if you don’t use too much water in the bricks, because they will probably warp if you use more water. Third , I have seen very old bricks lke this you are making, the old ones are made by using clay mixed with a little organic matter, like chopped straw, its good because it prevents shrinking and gives clay interesting possibilities, if you are interested do a search on paperclay.

  8. marcin

    Sasha, we use a nonstick liner, rubber. The bricks are not sticking. It’s just that the ejection of the block does not reach the top edge of the compression box. We are fixing that by adding a spacer. The bricks should be dry. We just didn’t have any dry soil to test with. Compressed earth bricks – I was told by the professionals – should not contain any ornanic matter. We can test that later on.

  9. Lucas

    Worldchanging is holding my comment hostage, I think. Most likely it’s holiday time so no staff to check it out. Shame I didn’t keep the text of my post there (to put it here, just to show you I wrote nice things), but the value is in the link and we have no link (yet). I don’t have time today, can someone write to alex at worldchanging dot com? Or maybe just give them the link?

    Re “no organic matter”, maybe this machine, while the global village is not actively growing, could be used to shape other things, like bread 😉 (Of course there will be add-ons for different shapes etc.)

  10. […] are optimizing our hydraulic Compressed Earth Block press prototype , and building a swing-blade sawmill . We need good equipment so we can begin building. Our planned […]

  11. Michael Phillips

    I’m working in East Africa and have a genuine need for a press of this type. I’m keenly interested, even to the point of sending a little money. One concern, however, due to the repetitive motion and high pressures, are bolts going to hold this press in alignment?

  12. Marcin

    Michael, on low throttle of the tractor, there are no signs of any structural issues after 4 sample bricks that we have done. It’s winter here, so we could not do serious testing with our frozen soil, but we can test repetitive presses with a single soil sample. We will be testing repetitive motions in two weeks (Our tractor is in the shop – unfortunately we have not built out own appropriate technology tractor yet). If there are any structural issues, we will address them by welding on a reinforcing stop that counteracts the pressure. On funding, our work to date is all by donations. Right now, we are working on a social enterprise website where we document progress, promise deliverables, and go through monthly funding cycles to accelerate progress. There is only so much we can do, so we are looking for an explicit mechanism to accelerate development – to create a serious technology development pipeline. Stay tuned to our blog. You can see the deployment strategy here: http://openfarmtech.org/index.php?title=Main_Page#Deployment and CEB work in development here: http://openfarmtech.org/index.php?title=CEB_Press . The latter will provide content for our social enterprise site. We are serious about developing a funding mechanism that works and scales, so after you review the information, let us know if you can help in any way.

  13. […] next on the Compressed Earth Block (CEB) press prototype development is a computer controlled XYZ table for automating acetylene torch cutting of […]

  14. Jeff Buderer

    Factor E Farm’s work is a key building block for creating Multi-purpose Community and Unity Centers (http://www.onevillagefoundation.org/ovf/unity_centers.html) because they are pioneering the use of simple to build low cost technologies and local materials. There is a basic simplicity to CEB that is powerful and compelling. Lets make it happen.

  15. […] We have just developed the world’s first high performance (3-5 bricks/minute), open source, Compressed Earth Block (CEB) press. […]

  16. Erd-Block-Presse funktioniert « Tirol 2.0

    […] Erd-Block-Presse funktioniert     Die erste Erd-Block-Presse, die in OpenDesin-Bauweise erstellt wurde, funktioniert! Hier gibt’s das Video von openfarmtech.org […]

  17. Erd-Block-Presse funktioniert! « Tirol 2.0

    […] Erd-Block-Presse funktioniert! Die erste Erd-Block-Presse, die in OpenDesin-Bauweise erstellt wurde, funktioniert! Hier gibt’s das Video von openfarmtech.org […]

  18. […] CEB (Compressed Earth Block) Phase 1 – Donehttp://openfarmtech.org/weblog/?p=91 […]

  19. duquesne

    I work in a french earth’s laboratoire. We work about compacting earth for making roads.
    I will give a lot information about this subjet(but in french) on my website ( http://www.lamaisondurable.com) it will be finish in : april, may 2008)

    10-30 % clay with sand : compacting with not to much wather
    (more compacting is strong: less wather)

    about 12 % for 2 MPa; it’s depends (% of water dépend of sort of clay, tail of the sand…)

    It’s difficult to me to explain in english

    30-55 % clay : adobe, cob

  20. […] order to build with the Compressed Earth Block press, and in order to produce these machines at Factor e, we need a certain level of […]

  21. Phil Tyers

    I stumbled upon your site today. Interesting from several different standpoints… I’m a little confused when trying to follow developments to date. Where are you with fund raising? The last developments I can see are December 07. Have you continued to develop the CEB machine or is funding holding you up?

    I have been learning about a new building material called Geopolymer. It is a form of concrete however it does not rely on the use of portland cement. The chemistry is different and the process uses flyash a waste material. I think it would lend itself to production in your CEB machine.

  22. Phil Tyers

    Have you made any progress on the earth block machine design since December? How are you progressing with raising the funds?

  23. […] fly-ash bricks in the United States. While plain soil is our preferred building material for our Compressed Earth Block press, we would like to apply fly-ash stabilization for bricks as needed. We could use stronger, […]

  24. […] been asked a number of times about the progress on the CEB press. The best answer is that we’re in a fertile birthing […]

  25. […] in yesterday’s blog entry) – not to mention building material such as lumber and bricks from the Compressed Earth Block press. Imagine if any new residential development contained an agricultural manager – plus community […]

  26. Phil Tyers

    If this was a birthing I’m afraid it would be a still birth. You seem to have huge plans, vague drawings a lot of talk but no follow through. I have been watching your blog for a few months now and I notice Zero progress. Your collaborative ideas sound good but where are the results??

  27. marcin

    Phil, it appears that you are eager to help. I invite you to give us a call, find out about the latest status, and get involved. We’re counting down the days until we start building, and we’re getting ready to deploy the Product Release Fund as described in our presentation, http://openfarmtech.org/weblog/.

  28. marcin

    Correct link for Global Village Construction Set presentation, which discusses Product Release Funding: http://openfarmtech.org/weblog/?p=198

  29. Anthony Dias

    I would like to fabricate this open source CEB press. Will you please post me to my e mail the drawings of all the parts to be made and photos of fabrication as to how & where each part fits in. This press would be a great idea for rural India where people are poor and often subjected to floods and natural calamities and blocks could be built on site for quick houses with labor provided by the displaced persons to make their own blocks.

    Anthony,

    All that we have at present is at http://openfarmtech.org/index.php?title=CEB_Press#Step_4._Design_and_Fabrication . We are days from testing the machine – and more information will be forthcoming. Note that this is a prototype at present, not a finished product.

  30. […] I believe in alternative building materials for a greener earth so I volunteered my assistance. Factor E Farm Weblog Blog Archive CEB Phase 1 Done I have even gotten approval by the Wife that she would live in a home built with dirt, the straw […]

  31. […] and demo projects at their development facility.  Their most successful project so far, the Compressed Earth Block press, can be built for $5000 — about one-fifth the price of the cheapest commercial […]

  32. […] – installing the loader and backhoe, building the rotitiller/auger attachment, and mounting the CEB press as a tractor implement. With these pieces the infrastructure for building with the CEB will be […]

  33. […] tuned for the next episode. The front-end loader is already on LifeTrac, we connected the Factor e Liberator CEB press to LifeTrac, and we’re in the process of making sample production runs of compressed earth […]

  34. […] abtransportiert werden muss. Und genau diesen Abtransport kann man sich sparen, wenn man die Maschine einsetzt, die Ihr oben in Action seht. Denn damit könnt Ihr die Erde zu […]

  35. […] The basic goal is to get people here, build a CEB workshop and living environment, and develop the CEB press to a marketable, open source product – including an open business model for community-supported […]

  36. […] present focus is neocommercialization of an open source, high performance CEB press – The Liberator, which we designed, built, and are presently testing in the […]

  37. […] present focus is neocommercialization of an open source, high performance CEB press – The Liberator, which we designed, built, and are presently testing in the […]

  38. […] We are on our way to neocommercialization of the CEB press, starting with the building of a flexible, digital fabrication facility. This building addition is […]

  39. ernesto

    deseo conocer mas de estos ladrillos quien me da informacion en español, sobre calidad de tierra, cantidades de cada componente etc

  40. Zashkaser

    I wanted to ask, is there any chance for a modified version of the directory listing script, with an iphone-stylish like design?

  41. Rob Kirby

    How is this project progressing. Any more detail on the drawings? Not sure how your ejector works. As well was wondering if different dies coiuld be inserted into the chamber so that roof tiles might also be pressed from the same press.

  42. CEB Prototype II | Open Source Ecology

    […] build, the Compressed Earth Block (CEB) press prototype II is finished. You can compare this to Prototype I video in a previous post. We are well on our way to our first significant product […]

  43. TED Fellows | Open Source Ecology

    […] – modularity and low cost features of open source products have been demonstrated with LifeTrac and CEB Press […]

  44. Product | Open Source Ecology

    […] go back a little in history. In the end of December, 2007 – we pressed the first brick – with The Liberator Prototype I. We got the first prototype into full operation by year-end […]

  45. […] Prototype I of The Liberator lay gathering dust for over a year after it served its initial purpose. We have converted it into a 20 ton shop press, and used it for testing the compressive strength of the blocks produced by the The Liberator Beta v2.0. […]

  46. […] Liberator has come a long way since its initial, manual prototype, to our not-so-effective building adventures, to Prototype II, to the soil pulverizer, to the first […]

  47. Ryan Martinez

    the franchising business is actually good specially if the product for franchise is well known.,-.

  48. CEB Prototype II Finished |

    […] build, the Compressed Earth Block (CEB) press prototype II is finished. You can compare this to Prototype I video in a previous post. We are well on our way to our first significant product […]

  49. […] of Prototype IV of the Compressed Earth Brick (CEB) Press.  The machine has come a long way since Prototype I. The main changes since Prototype III – part of our Christmas Gift to the World of 2011 […]